推薦產品
咨詢熱線:
郵件: oklzq@aliyun.com
電話:0317-8309525
地址: 河北省泊頭市南倉街
-
產品詳情

小型萬向聯軸器用來傳遞不在同一條軸線上的運動,有單型(WSD)、雙型(WS)、可伸縮型(WSS)、矯正機用(WHL、WSL);材料有45#鋼、40Cr、不銹鋼等;表面可作發黑、鍍鎳、鍍鋅等處理。
WSD聯軸器的材料:WSD十字軸采用了合金鋼(40Cr、40CrNi、20CrMo、20CrMnVB)制造,熱處理后硬度58~62HRC,其他個零件均采用35或45鋼制造并經熱處理48~52 HRC 。WSD聯軸器兩端連接形式:兩端采用相同孔形時,有圓柱孔、帶鍵槽圓柱孔 、四方形孔;兩端采用不同孔形時,有圓柱孔與帶鍵槽圓柱孔、有圓柱孔與四方形孔、帶鍵槽圓柱孔與與四方形孔等三種.
本萬向聯軸器適用于聯接兩軸軸線夾角β≤45°的傳動軸系;傳遞公稱轉矩11.2~1120N·m 的單十字軸萬向聯軸器和雙十字軸萬向聯軸器。
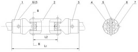
WSD型單十字軸萬向聯軸器結構圖
1、2—半聯軸器;3—圓錐銷;4—十字軸;5—銷釘;6—套筒;7—圓柱銷。
WS型雙十字軸萬向聯軸器結構圖
1、3—半聯軸器;2—叉形街頭;4—十字軸;5—銷釘;6—套筒;7—圓柱銷. WS/WSD型小型十字軸萬向聯軸器基本參數和主要尺寸
| 型號 | 公稱轉矩 Tn N·m | d H7 | D | L0 | L | L2 | 重量 m kg | 轉動慣量 I kg·m2 | ||||||||||
| WSD型 | WS型 | WSD型 | WS型 | WSD型 | WS型 | |||||||||||||
| Y型 | J1型 | Y型 | J1型 | Y型 | J1型 | Y型 | J1型 | Y型 | J1型 | Y型 | J1型 | Y型 | J1型 | |||||
| WS1 WSD1 | 11.2 | 8 | 16 | 60 | - | 80 | - | 20 | - | 20 | 0.23 | - | 0.32 | - | 0.06 | - | 0.08 | - |
| 9 | ||||||||||||||||||
| 10 | 66 | 60 | 86 | 80 | 25 | 22 | 0.20 | 0.29 | 0.05 | 0.07 | ||||||||
| WS2 WSD2 | 22.4 | 10 | 20 | 70 | 64 | 96 | 90 | 26 | 0.64 | 0.57 | 0.93 | 0.88 | 0.10 | 0.09 | 0.15 | 0.15 | ||
| 11 | ||||||||||||||||||
| 12 | 84 | 74 | 110 | 100 | 32 | 27 | ||||||||||||
| WS3 WSD3 | 45 | 12 | 25 | 90 | 80 | 122 | 112 | 32 | 1.45 | 1.30 | 2.10 | 1.95 | 0.17 | 0.15 | 0.24 | 0.22 | ||
| 14 | ||||||||||||||||||
| WS4 WSD4 | 71 | 16 | 32 | 116 | 82 | 154 | 130 | 42 | 30 | 38 | 5.92 | 4.86 | 8.56 | 0.48 | 0.39 | 0.32 | 0.56 | 0.49 |
| 18 | ||||||||||||||||||
| WS5 WSD5 | 140 | 19 | 40 | 144 | 116 | 192 | 164 | 48 | 16.3 | 12.9 | 24.0 | 20.6 | 0.72 | 0.59 | 1.04 | 0.91 | ||
| 20 | 52 | 38 | ||||||||||||||||
| 22 | ||||||||||||||||||
| WS6 WSD6 | 280 | 24 | 50 | 152 | 124 | 210 | 182 | 52 | 38 | 58 | 45.7 | 36.7 | 68.9 | 59.7 | 1.28 | 1.03 | 1.89 | 1.64 |
| 25 | 172 | 136 | 330 | 194 | 62 | 44 | ||||||||||||
| 28 | ||||||||||||||||||
| WS7 WSD7 | 560 | 30 | 60 | 226 | 182 | 296 | 252 | 82 | 60 | 70 | 148 | 117 | 207 | 177 | 2.82 | 2.31 | 3.90 | 3.38 |
| 32 | ||||||||||||||||||
| 35 | ||||||||||||||||||
| WS8 WSD8 | 1120 | 38 | 75 | 240 | 196 | 332 | 288 | 92 | 396 | 338 | 585 | 525 | 5.03 | 4.41 | 7.25 | 6.63 | ||
| 40 | 300 | 244 | 392 | 336 | 112 | 84 | ||||||||||||
| 42 | ||||||||||||||||||
注:①表中聯軸器重量、轉動慣量是近似值。
②當軸線夾角β≠0時,聯軸器的許用轉矩[T]=Tncosβ。
③中間軸尺寸L2可根據需要選取。





